近江猫屋敷
トップ 野鳥撮影日記 野鳥撮影研究 近江猫テック
メディアギャラリー 6503件 「とりや成分」診断 EXIF・ウォーターマーク焼き付けツール
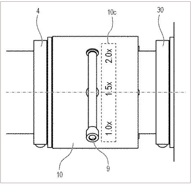
RF200-800mm F6.3-9 IS USMのレビュー紹介、800mmでの撮影について

RF200-800mm F6.3-9 IS USMのレビュー紹介、800mmでの撮影について

野鳥撮影研究
RF200-800mm F6.3-F9 IS USM正式発表

RF200-800mm F6.3-F9 IS USM正式発表

野鳥撮影研究
RF200-800mm F6.3-9 IS USMの噂(直前)

RF200-800mm F6.3-9 IS USMの噂(直前)

野鳥撮影研究
広がるRF200-800mm F6.3-F9 IS STM/USMの噂

広がるRF200-800mm F6.3-F9 IS STM/USMの噂

野鳥撮影研究
Canonが3本のRFレンズを11/2に発表するという噂

Canonが3本のRFレンズを11/2に発表するという噂

野鳥撮影研究
RF200-800mm F6.3-9 ISの噂

RF200-800mm F6.3-9 ISの噂

野鳥撮影研究
EOS R1 プロトタイプの噂

EOS R1 プロトタイプの噂

野鳥撮影研究
RF10-20mm F4L IS STM発表

RF10-20mm F4L IS STM発表

野鳥撮影研究
RF200-800mmの噂、その辺を散歩

RF200-800mmの噂、その辺を散歩

野鳥撮影研究
EOS R7で野鳥撮影 設定例(2023/10)

EOS R7で野鳥撮影 設定例(2023/10)

野鳥撮影研究
EOSで野鳥撮影 鳥納め

EOSで野鳥撮影 鳥納め

野鳥撮影研究
EOS R7で野鳥撮影 遠距離撮影TIPS

EOS R7で野鳥撮影 遠距離撮影TIPS

野鳥撮影研究
Canon RF200-800mm F5.6-9 特許申請

Canon RF200-800mm F5.6-9 特許申請

野鳥撮影研究
EOS R5 mark IIの噂

EOS R5 mark IIの噂

野鳥撮影研究
EOS R7,1DX3で野鳥撮影 最近のRAW現像TIPS

EOS R7,1DX3で野鳥撮影 最近のRAW現像TIPS

野鳥撮影研究
EOS R5 mark II、RF200-500mm F4L IS USMの噂

EOS R5 mark II、RF200-500mm F4L IS USMの噂

野鳥撮影研究
EOS R7,1DX3で野鳥撮影 色bit数やRAW現像について

EOS R7,1DX3で野鳥撮影 色bit数やRAW現像について

野鳥撮影研究
EOS R7,1DX3で野鳥撮影 EF400mm F4 DO IS II USM

EOS R7,1DX3で野鳥撮影 EF400mm F4 DO IS II USM

野鳥撮影研究
EOS R7で野鳥撮影 散策、EF400mm F4 DO IS II USM再び

EOS R7で野鳥撮影 散策、EF400mm F4 DO IS II USM再び

野鳥撮影研究
EOSで野鳥撮影 気になる噂 EOS R5 mark II、SIGMA/TAMRON

EOSで野鳥撮影 気になる噂 EOS R5 mark II、SIGMA/TAMRON

野鳥撮影研究
EOS R7で野鳥撮影 クロツグミ、電子シャッターについて

EOS R7で野鳥撮影 クロツグミ、電子シャッターについて

野鳥撮影研究
EOSで野鳥撮影 センサーとレンズの適合性 (初心者向け)

EOSで野鳥撮影 センサーとレンズの適合性 (初心者向け)

野鳥撮影研究
RAW現像ワークショップ(DxO PureRAW3、CaptureOne、Adobeスーパー解像度)

RAW現像ワークショップ(DxO PureRAW3、CaptureOne、Adobeスーパー解像度)

野鳥撮影研究
EOS R1のうわさ整理

EOS R1のうわさ整理

野鳥撮影研究
1 ... 6 7 8 ... 11
メディアギャラリー 6503件
「とりや成分」診断 EXIF・ウォーターマーク焼き付けツール

検索

管理人紹介

プロフィール

野鳥撮影にハマって常に金欠。

おうみねこ

ショーケース

サイトページ

1. このサイトについて 2. 殿堂入りショット 3. サイトポリシー 4. お問い合わせ

アーカイブ

© 2026 近江猫屋敷
掲載写真の無断転載・利用を禁じます。すべての写真にはデジタル不可視署名が施されています。
メディアギャラリー 6503件
「とりや成分」診断 EXIF・ウォーターマーク焼き付けツール

検索

管理人紹介

プロフィール

野鳥撮影にハマって常に金欠。

おうみねこ

ショーケース

サイトページ

1. このサイトについて 2. 殿堂入りショット 3. サイトポリシー 4. お問い合わせ

アーカイブ