CanonRumorsにRF200-500mm F4L IS USMの噂[CR3]が流れてます。
RF200-500mm F4L IS USM
※写真はEF500mm F4L IS II USM
キヤノンのEF 500mm f/4L IS USM IIは、RFマウント用のズームレンズとしてリリースされる予定です。確認されている情報によれば、Canon RF 200-500mm f/4L IS USM レンズは、2023年の第4四半期または2024年の第1四半期に発売される予定です。それはおそらくCanon EOS R1よりも先に発表されるでしょう。
Canon RF 200-500mm f/4L IS USM confirmed, likely in Q4 [CR3] - Canon Rumors
When you purchase through links on our site, we may earn an affiliate commission. Here's how it works. Canon's EF 500mm f/4L IS USM II is going to be a zoom for the RF mount first. We have confirmed that a Canon RF 200-500mm f/4L IS USM will likely be coming in Q4, or perhaps in […]
www.canonrumors.com
とのことですね、[CR3]なのでほぼ確定と思われます。
RF200-500mm F4L IS USM 1.4xの噂
CanonRumorsにRF200-500mm F4L IS USM 1.4xの噂が挙がってますね。RF200-500mm F4L IS USM x1.4の噂CanonRumorsでは、「EF500mm F4L IS II USMがRFマウ
www.oumineko.com
まぁ..200万円越えのレンズなのと、野鳥撮影には必要のない機能で値段が上がっているようなものですのでそんなには興味はなく。
スポーツには最高でしょうね。
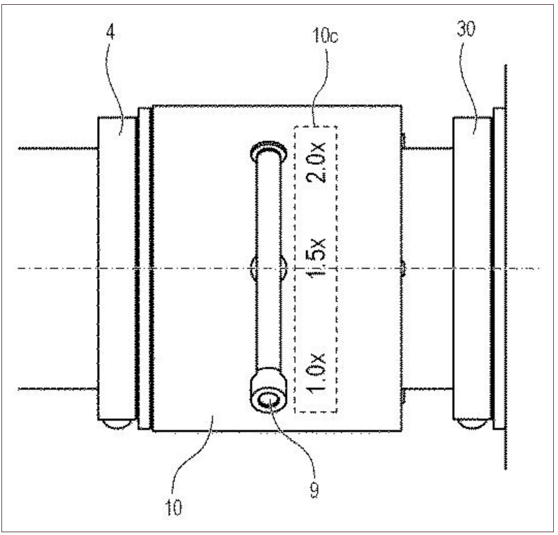
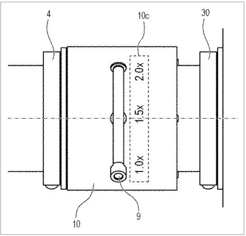
1~2倍可変テレコンの噂
キヤノンRF100-300mm f/2.8L IS USMおよびCanon RF200-500mm f/4L IS USMの両方に対して、素晴らしいテレコンバーターの解決策が提供される予定です。
さっきの記事にあったこっちの方がかなり気になりますね。
キヤノンの特許出願には、「1.0倍から2.0倍までズーム可能なテレコンバーター」が含まれています。
Home | CanonNews
CanonNews.com provides up to date canon news and canon rumors about products including Canon Cameras, Lenses, Flashes and more.
www.canonnews.com
以前1.0~2.0倍まで可変のテレコンバータで、かつレンズが突出していないものが特許申請されていて、これじゃないかという期待が高まってます。
RF100-300、RF200-500専用の可能性は大いにあるのでアレですが、今後RFレンズで発売されるレンズが対応してくれるとかなり便利になりますね。
他社が発売しているようなLじゃない200-600mm F6.3をお安く発売してくれないものですかね...。